您好,欢迎来到合普项目管理咨询集团有限公司
服务热线:0551-64269116工作时间:8:00-18:00在线咨询
 

造价咨询

最新资讯

NEWS

联系我们

CONTACT US

合普项目管理咨询集团有限公司 


地址:安徽省合肥市包河区延安路1666号(皖都徽韵对面)


电话:0551-64269116   

 

传真:0551-64269116   



 

您现在所在的位置:首页 >> 造价咨询 >> 学习与指导

建筑电气工程量计算及方法
2018-08-31 浏览次数:947

安装造价里,最难的莫过于建筑电气,为何?从电缆电线的区分到分别计算,从电气桥架到爬墙走线,从防雷接地到弱电智能化,每个环节都是比较复杂且难以弄懂的,那么本章就带领各位安装造价人学习学习如何计算电气工程量及方法


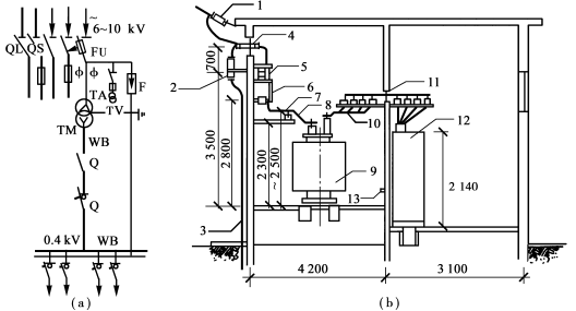
10kV高压架空进户装置


10 kV以下悬式绝缘子XP,以“串”计量;

10 kV以下户外高压熔断器WR,以“组”计量;

钢穿通板,以“块”计量;

10 kV以下穿墙导管CLB,以“个”计量;

10 kV以下避雷器FS,以“组”计量;

10 kV以下户内、外支持绝缘子ZA,以“个”计量;

支架、金具,以“kg”计算。


变配电装置及设备

从进户装置起依序计算


变压器安装

计算规则:按不同电压等级、不同容量和不同类型分别以“台”计量。

TM安装:不包括变压器油耐压试验及变压器系统调试。

TM分类:冷却方式有油浸式、干式;相数分单相与三相;线圈材质分铜、铝线圈;铁芯分热轧与冷轧硅钢片等。


配电装置安装

断路器(QF)、负荷开关(QL)、隔离开关(QS),断、通正常负荷电路,保护和控制高压电器设备。安装包括所配备的电磁式、弹簧储能式、手动式等操作机构。

电流互感器(TA)、电压互感器(TV)作为测量电压、电流、电能及继电保护之用。

计算规则:上述装置均以“台”计量。


母线安装

母线:有变配电装置高压母线和车间配电低压母线,注意区别。

常用硬母线:铜(TMY)、铝(LMY) 。         

计算规则:单片“延长米”计算。

L母= (母线设计单片延长米长度+母线预留长度)×(1+2.3%)

制作安装损耗—2.3% 


高压控制设备

高压控制台、柜、屏,用于发电厂、工矿企业变配电站(所),接受电力和大型高压交流电动机启动、保护的主要设备。

目前,国产有固定、手车及活动式三种。  型号有GG、GFC、GBC等型。

计算规则:分别按控制屏、继电屏、模拟屏、电源屏、直流屏、控制台及箱式配电室等以“台”计量。


低压控制配电设备

计算规则:成套型动力、照明控制及配电用柜、箱、屏等,不分型号、规格及安装方式,均以“台”计量。

进出柜、箱、屏的导线需焊(压)接线端子时,以“个”计量。

高压、低压设备基座、支架:槽(角)钢基座、支架制安按“kg”、“m”计算。


电力及控制电缆

电缆埋地或地沟进户示意

L=(l1+l2+l3+l4+l5+l6+l7)×(1+2.5%)


电力及控制电缆安装

计算规则:10 kV以下电力及控制电缆;无论敷设方式用部位,分别以“m”计算。

电缆长度以敷设方式和部位的表达式:

   电缆长度=(2×端头长+引上下长+直埋地长+电缆沟长+保护管长+钢索长+沿墙长+竖井道长+桥架长+槽架长十梯架长+线道长等+电缆预留量)×(1+2.5%)

电缆端头:制作安装以“个”计量。


电缆直埋敷设

电缆沟土石方,以“m3 ”计算:

V=S L,两根电缆每1 m沟长,V=0.45 m 每增加一根电缆,每1m沟增加0.153m3。

电缆沟铺砂盖砖:以沟长度“m”计算。


电缆沟内敷设

电缆沟:进人、不进人沟。

沟体砌筑:土石方量“m3” ;沟底、壁砌砖 或浇筑“m3”;    沟壁、底抹水泥砂浆“m2”;沟盖板制作“m3” ;  采购时价值及运费。

参考《建筑工程预算定额》。

揭、盖电缆沟盖板:“m”计算;

沟内支架制安:钢“kg” 、砼“m3 ”计算。


电缆桥架安装 

桥架:分为梯式、托盘式(有孔托盘、无孔     托盘),一般由直线段、弯通、三通等附件及支、吊架等构成。 

计算规则:无论钢质、不锈钢、铝合金、玻璃钢、塑料质桥架,均按“m”计算。包括桥架每段间用5.5~16mm2的电气连通       

跨接线及接地线和接地端子的安装。


配管工程量

规则:配管以管材质、规格和敷设方式不同(明暗),按“延长米”分别计算,不扣除接线盒(箱)、灯头盒、开关盒所占长度。

要领:从配电箱起逐回路进行计算。

方法:水平管,借建筑物平面图墙、柱轴线尺寸进行计算。只能斜向敷设的管,当图纸比例正确时,可用比例尺量算。


配管配线的明暗盒

接线(分线)、插座、开关、灯头等盒按“个”计量。


电气配线

规则:照明和动力线路不分品种、规格、型号、敷设方式均按“单线延长米”计算。

管穿线长=(配管长度+导线预留长度)× 同截面导线根数

常用导线:单芯、多芯;铝芯、铜芯;塑料、橡胶绝缘。

导线预留长度